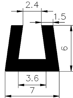
Profiles

The silicone “U” shape profiles are for the protection of the edges of glass, plastics and metal sheets. We can produce them for wide scale of temperature resistance and in several colours.Their advantage is that they don’t leave any black mark by friction  on a surface.

The hardness range of silicone “U” shape profiles is 40°Sha and 80Sha°. Normally they are heat resistant up to 210°C, but with a special silicone compound it can be resistant up to 300°C. After proper post heat treatment they can also be used for food industry and for medical instruments as well. The “U” shape silicone profiles match the requirements of FDA heath food prescription specification. If necessary, we can confirm it in written

1 2 3

1 2 3